Home¡¡¡¡Introduction¡¡¡¡Quality¡¡¡¡Products¡¡¡¡Supports¡¡¡¡Feedback¡¡¡¡Contacts¡¡¡¡Chinese
   
¡¡ Slender-type cable head

ÐÍÌ–
ÒŽ(gu¨©)¸ñ
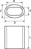
ͨÓÃä“Ë÷³ß´çCODE(mm) [F=0.43~0.62]* (inch)
A
(mm)
B
(mm)
C
(mm)
D
(mm)
L
(mm)
W903S-17
17
16-17
20.1
38.7
31.9
44.9
52
W903S-19
19
18-19
21.4
41.3
34.2
47.9
58
W903S-21
21
20
23.6
44.1
37.0
50.9
63
-
21
-
-
-
-
-
W903S-23
23
22
27.2
50.3
42.0
58.3
68
-
23
-
-
-
-
-
W903S-25
25
24-25
28.5
55.7
44.7
64.7
75
W903S-27
27
26-27
32.0
59.9
49.2
69.3
82
-
28
-
-
-
-
-
W903S-29
29
29-30
34.2
62.7
52.5
72.8
96
W903S-31
31
31-32
36.2
66.7
55.7
77.5
100
W903S-33
33
33-34
38.0
70.5
58.9
82.0
107
W903S-35
35
35-36
39.5
73.5
62.7
86.5
113
W903S-37
37
37-38
42.0
78.4
65.6
91.9
120
W903S-39
39
39-40
43.5
81.5
69.0
96.5
127

*Filling factor(F) represents the ratio between the total metallic area of the rope and the area determined by the diameter of the rope.
*Tensile grade of wire: 140~180 kgf/mm2.
*Not suitable for 6*12(1/2 Fiber)and 6*24(15/9 Fiber)constructions.

 
Copyright£ºTaizhou Ming Feng Electric Equipment Factory Main Products£ºBearing Heater¡¢Induction Heater¡¢ Steel Wire Rope Press¡¡ ¡¡
Contact£ºMs.wang¡¡Sales Line£º086-523-86865033¡¡Fax£º086-523-86862098¡¡E-mail:web@china-mfdq.com
Address: 158# Taibai Road, Tangwang Town, Taizhou City